|
|
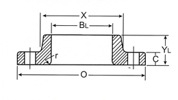
LAP JOINT
150 lbs |
 |
|
Nominal
Pipe
Size |
Outside
Dia. of
Flange
O |
Thick
Of
Flange
C |
Dia. of
Hub at
Base
X |
Length
Thru
Hub
YL |
Dia.
Of
Bore
BL |
Radius
Of
Fillet
r |
Pipe
size |
|
1/2”
3/4”
1”
1-1/4”
1-1/2”
2”
2-1/2”
3”
4”
5”
6”
8”
10”
12”
14”
16”
18”
20”
24” |
88.9
98.4
108.0
117.5
127.0
152.4
177.8
190.5
228.6
254.0
279.4
342.9
406.4
482.6
533.4
596.9
635.0
698.5
812.8 |
11.2
12.7
14.3
15.9
17.5
19.1
22.3
23.9
23.9
23.9
25.4
28.6
30.2
31.8
35.0
36.6
39.7
42.9
47.7 |
30.2
38.1
49.2
58.7
65.1
77.8
90.5
108.0
134.9
163.5
192.1
246.1
304.8
365.1
400.1
457.2
504.8
558.8
663.6 |
15.9
15.9
17.5
20.6
22.2
25.4
28.6
30.2
33.3
36.5
39.7
44.5
49.2
55.6
79.4
87.3
96.8
103.2
111.1 |
22.9
28.2
35.1
43.7
50.0
62.5
75.4
91.4
116.8
144.5
171.5
222.3
277.4
328.2
360.2
411.2
462.3
514.4
616.0 |
3.2
3.2
3.2
4.8
6.4
7.9
7.9
9.5
11.1
11.1
12.7
12.7
12.7
12.7
12.7
12.7
12.7
12.7
12.7 |
1/2”
3/4”
1”
1-1/4”
1-1/2”
2”
2-1/2”
3”
4”
5”
6”
8”
10”
12”
14”
16”
18”
20”
24” |
LAP JOINT
300 lbs
|
Nominal
Pipe
Size
|
Outside
Dia. of
Flange
O |
Thick
Of
Flange
C |
Dia. of
Hub at
Base
X |
Length
Thru
Hub
YL |
Dia.
Of
Bore
BL |
Radius
Of
Fillet
r |
PIPE
SIZE |
|
1/2”
3/4”
1”
1-1/4”
1-1/2
2”
2-1/2”
3”
4”
5”
6”
8”
10”
12”
14”
16”
18”
20”
24” |
95.3
117.5
123.8
133.4
155.6
165.1
190.5
209.6
254.0
279.4
317.5
381.0
444.5
520.7
584.2
647.7
711.2
774.7
914.4 |
14.3
15.9
17.5
19.1
20.7
22.3
25.4
28.6
31.8
35.0
36.6
41.3
47.7
50.8
54.0
57.2
60.4
63.5
69.9 |
38.1
47.6
54.0
63.5
69.9
84.1
100.0
117.5
146.1
177.8
206.4
260.4
320.7
374.7
425.5
482.6
533.4
587.4
701.7 |
22.2
25.4
27.0
27.0
30.2
33.3
38.1
42.9
47.6
50.8
52.4
61.9
95.3
101.6
111.0
120.7
130.2
139.7
152.4 |
22.9
28.2
35.1
43.7
50.0
62.5
75.4
91.4
116.8
144.5
171.5
222.3
277.4
328.2
360.2
411.2
462.3
514.4
616.0 |
3.2
3.2
3.2
4.8
6.4
7.9
7.9
9.5
11.1
11.1
12.7
12.7
12.7
12.7
12.7
12.7
12.7
12.7
12.7 |
1/2”
3/4”
1”
1-1/4”
1-1/2”
2”
2-1/2”
3”
4”
5”
6”
8”
10”
12”
14”
16”
18”
20”
24” |
|
|